爱游戏网页版注册(中国区)官方网站

新闻动态

  • 差压变送器安装、接线、调零和注意事项

    差压变送器是测量工艺管道或罐体中介质的压力差,并且通过数据的转换、开方将测量的差压值转换成电流信号输出。但是当选择差压变送器时需要注意差压值、介质等相关参数,并且差压变送器在操作时,需要注意以下的一些问题。

    2026-01-21 爱游戏网页版注册(中国区)官方网站

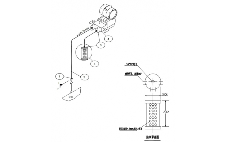
  • 微差压变送器防风罩

    为减少外界气流和环境波动对微差压变送器测量精度的影响,可以在微差压变送器负压侧取压口处安装一段向下的引压管并安装防风罩,以下是防风罩在微差压变送器上的安装示意图:

    2025-08-06 爱游戏网页版注册(中国区)官方网站

  • WAX-C320系列变送器基础知识分享

    WAX-C320系列变送器基础知识分享

    2023-06-13 爱游戏网页版注册(中国区)官方网站

  • 德尔塔巴流量计流量指示不准,无指示的故障处理

    德尔塔巴流量计流量指示不准,无指示的故障处理

    2022-04-01 爱游戏网页版注册(中国区)官方网站

上一页1下一页 转至第
爱游戏网页版注册(中国区)官方网站
产品
新闻
联系