电机过热保护与绕组温度测量方法
2023-03-10 爱游戏网页版注册(中国区)官方网站
化工装置开车DCS调试全过程知识分享
2023-02-28 爱游戏网页版注册(中国区)官方网站
热电偶补偿原理知识分享
2023-02-06 爱游戏网页版注册(中国区)官方网站
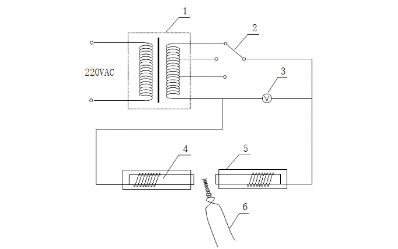
一种贵金属热电偶焊接装置
热电偶、电阻保护套泄露处理办法
2022-12-09 爱游戏网页版注册(中国区)官方网站
电厂循环流化床锅炉炉膛温度计的使用浅析
2022-12-06 爱游戏网页版注册(中国区)官方网站
热电偶工作原理及故障处理思路
2022-11-23 爱游戏网页版注册(中国区)官方网站
自控仪表接地知识分享
2022-10-24 爱游戏网页版注册(中国区)官方网站